一、新增APP备案(未办理过ICP备案)
适用于首次申请APP备案的用户。
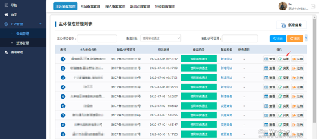
APP主办者登录后,点击左侧菜单“ICP管理-备案管理”进入“主体备案管理”页面,如下图所示:

点击新增备案进入主体信息填报页面,输入准确的主体信息,点击下一步:

跳转至网站信息填报页面,服务类型选择“APP”,输入准确的APP信息,服务内容请根据APP实际情况进行勾选。点击下一步:


请您根据 APP 运行平台上的包信息对“APP 包名、签名 MD5 值、公钥”进行填写
关于 APP 特征信息中的 MD5 值:APP 特征信息中的 MD5 值,指的是 APP 证书的数字指纹值。安卓版 APP,请填写证书的 MD5 值 (以16进制形式填写)。苹果版 APP,请填写证书的 SHA-1 值 (以16进制形式填写)。
在“提交核验单”页面最后,点击上传提交审核

二、新增APP流程(已办理过ICP备案)
适用于主办单位已有网站做过备案,现需要进行APP备案。
APP主办者登录后,点击左侧菜单“ICP管理-备案管理”进入“网站备案管理”页面,如下图所示:

点击新增网站进行新增网站操作,根据实际情况选择是否变更主体,填写主体相关信息,点击下一步:(若本地有主体信息,页面会自动显示部分信息)

跳转至网站信息填报页面,服务类型选择“APP”,输入准确的网站信息,IP 地址填写时请注意IP 地址的准确性和完整性。点击下一步:


请您根据 APP 运行平台上的包信息对“APP 包名、签名 MD5 值、公钥”进行填写
关于 APP 特征信息中的 MD5 值:APP 特征信息中的 MD5 值,指的是 APP 证书的数字指纹值。安卓版 APP,请填写证书的 MD5 值 (以16进制形式填写)。苹果版 APP,请填写证书的 SHA-1 值 (以16进制形式填写)。
在“提交核验单”页面最后,点击上传提交审核

三、APP接入备案流程
适用于已在其他接入商完成ICP备案的网站,需要变更接入商的用户。
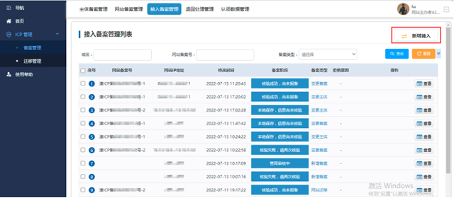
网站主办者登录后,点击左侧菜单“ICP管理-备案管理”进入“接入备案管理”页面,如下图所示:

点击新增接入进行新增接入操作,根据实际情况选择是否变更主体,填写主体相关信息,点击下一步:

填写网站信息,服务类型选择“APP”点击下一步:

在“提交核验单”页面最后,点击上传提交审核:

四、APP变更备案流程
1、变更备案
适用于需要同时变更主体信息和网站信息的用户。
网站主办者登录后,点击左侧菜单“ICP管理-备案管理”进入“主体备案管理”页面,选择备案通过的数据,点击变更:

点击变更主体网站信息,变更备案信息:

修改主体信息,点击下一步:

修改网站信息,点击下一步:

在“提交核验单”页面最后,点击上传提交审核

2、变更主体
适用于网站信息不变更,只有主体信息需要变更的用户。
网站主办者登录后,点击左侧菜单“ICP管理-备案管理”进入“主体备案管理”页面,选择备案通过的数据,点击变更:

点击

在弹出页面中修改主体信息,点击下一步:

跳转至网站信息页面,勾选主体下任意APP点击确定,点击下一步:

请您根据 APP 运行平台上的包信息对“APP 包名、签名 MD5 值、公钥”进行填写
关于 APP 特征信息中的 MD5 值:APP 特征信息中的 MD5 值,指的是 APP 证书的数字指纹值。安卓版 APP,请填写证书的 MD5 值 (以16进制形式填写)。苹果版 APP,请填写证书的 SHA-1 值 (以16进制形式填写)。
在“提交核验单”页面最后,点击上传提交审核

3、变更网站
适用于网站信息需要变更的用户。
网站主办者登录后,点击左侧菜单“ICP管理-备案管理”进入“网站备案管理”页面,选择备案通过的数据,点击变更网站:

点击下一步

选择变更的APP,点击确定,进行修改:

请您根据 APP 运行平台上的包信息对“APP 包名、签名 MD5 值、公钥”进行填写
关于 APP 特征信息中的 MD5 值:APP 特征信息中的 MD5 值,指的是 APP 证书的数字指纹值。安卓版 APP,请填写证书的 MD5 值 (以16进制形式填写)。苹果版 APP,请填写证书的 SHA-1 值 (以16进制形式填写)。

在“提交核验单”页面最后,点击上传提交审核

4、变更接入
适用于仅变更IP地址的用户。
网站主办者登录后,点击左侧菜单“ICP管理-备案管理”进入“接入备案管理”页面,选择备案通过的数据,点击变更接入:

点击下一步:

选择变更接入的APP,点击确定:

请您根据 APP 运行平台上的包信息对“APP 包名、签名 MD5 值、公钥”进行填写
关于 APP 特征信息中的 MD5 值:APP 特征信息中的 MD5 值,指的是 APP 证书的数字指纹值。安卓版 APP,请填写证书的 MD5 值 (以16进制形式填写)。苹果版 APP,请填写证书的 SHA-1 值 (以16进制形式填写)。
修改接入信息后,点击下一步:

在“提交核验单”页面最后,点击上传提交审核:

五、APP 特征信息填写参考规范
进行 APP 备案服务时,需要填写 APP 的相关特征信息。本文为您介绍安卓平台、iOS 平台 APP 特征信息的获取方法。
说明:此部分内容涉及专业 APP 开发知识,本文仅供参考,具体情况请咨询 APP 开发人员。
1、基础概念
| 概念 | 说明 |
| 包名(Android 应用标识符) | APK 包名是 Android 应用程序的唯一标识符。例如:com.tencent.qcloud。 |
| Bundle ID(IOS 应用标识符) | Bundle ID 是 IOS 应用程序的唯一标识符。例如:com.tencent.cloudtest。 |
| 数字证书 | 数字证书是一个经权威授权机构数字签名,包含公开密钥的拥有者信息以及公开密钥的文件,是由权威机构颁发的可信凭证。 |
| 数字签名 | 数字签名采用非对称密钥生成算法,会生成一对密钥:私钥和公钥。发送方使用私钥加密摘要来进行签名,接收方必须使用对应的公钥才能进行解密。 |
| 数字摘要 | 又称数字指纹,是使用 Hash 函数将待加密明文转化得到的一串固定长度密文。常见的摘要算法有 MD5、SHA-1等。 |
2、iOS 应用获取指导
1) 获取Bundle ID:使用 APP 对应的 IOS 开发者账号登录 Developer 控制台,找到下图标识符(英文),单击进入 Certificates,Identifiers&Profiles 页面。

2)在 Certificates,Identifiers&Profiles 页面,单击 Identifiers,其中 IDENTIFIER 列对应的就是 Bundle ID。如下图所示

3)获取公钥与签名 SHA1 值:在计划资源中,单击证书(英文),进入 Certificates 页面。

4) 在Certificates 页面,可查看证书详情,并下载 APP 对应的证书。

5) 通过查看证书详细信息,可获取公钥和签名 SHA1 值。IOS 的 APP 公钥,如下图所示:

6) IOS 的 APP签名 MD5 值(SHA-1),如下图所示:

3、安卓应用获取指导
公钥和 MD5 值可以通过安卓开发工具、Keytool、Jadx-GUI 等多种工具获取,本文以 jadx-gui 为例。
1)下载 jadx-gui 工具 ,单击此处 下载 jadx-gui 工具。

2)下载完成后,解压压缩包,双击 jadx-gui-1.4.7.exe 运行。

3)运行后,在页面左上方单击文件 > 打开文件打开 APK 包。
4)打开 APK 包后,找到并单击 APK signature 查看公钥和 MD5 值。

5) 展开资源文件,找到并单击 AndroidManifest.xml 查看 APP 包名。

六、App备案服务内容目录
分类 | 子项 |
生活服务 | 生活缴费、招聘、工具、家政、婚庆、房地产、母婴、共享服务、丽人、洗浴保健、宠物、法律咨询、公证、电子认证、拍卖、专利/商标代理、亲子/司法鉴定、会计师事务所、税务师事务所、公共印章刻制、公司转让信息服务、一般财务服务、公关/推广/市场调查、网络代理、企业管理、会展服务、出国移民、摄影/扩印、质量检测、机械维修、工商代理注册、其他。 |
餐饮 | 点餐、外卖、其他。 |
休闲娱乐 | 福利彩票、游戏、歌舞厅/KTV等娱乐服务/休闲娱乐类服务、健身房/瑜伽/舞蹈/美体机构、棋牌桌游/电玩网吧、网络社交、网络图书、视频、音乐/电台/有声读物、文化场馆、体育、游乐园/嘉年华、院线影城/演出。 |
旅游服务 | 福利彩票、游戏、歌舞厅/KTV等娱乐服务/休闲娱乐类服务、健身房/瑜伽/舞蹈/美体机构、棋牌桌游/电玩网吧、网络社交、网络图书、视频、音乐/电台/有声读物、文化场馆、体育、游乐园/嘉年华、院线影城/演出。 |
旅游服务 | 景区服务、旅行社、旅游管理单位、旅游退税、OTA(在线旅行社)、住宿服务、出境、其他。 |
交通运输 | 火车/高铁/动车、航空、公交/地铁、打车/出租车、自行车、长途汽车、船舶、导航、加油、高速、其他。 |
汽车服务 | 维修保养、汽车用品、车辆销售/二手车销售、代驾、租车、停车、充电、ETC、道路救援、车联网。 |
教育 | 儿童教育、培训机构、学校、其他。 |
仓储和邮政业 | 快递、物流、仓储、快递柜、其他。 |
医疗服务 | 医院、医疗器械、医药、健康护理、血液/干细胞服务、临床试验。 |
政务服务 | 时政信息、政务服务大厅、交通出行及运输、户政、公安(含国安)及消防、出境入境及边防、司法公正、纪检审计、财政、民政、住房保障、党/团/组织、文体及教育科研、人力资源及社会保障、环保绿化、水利水务、气象地质、市场监督管理、医疗卫生、国土规划建设、质量技术、食品监督管理、新闻出版及广电、税收财务、金融、知识产权、信访、公用事业、海关口岸、邮政、检验检疫、商务贸易、农林畜牧海洋、社科档案及文物、安全生产及应急、科技创新、统计、经济发展与改革、烟草、网信、工信、能源、乡村振新、民族宗教、信用、公益。 |
金融业 | 保险、银行、信托、公募基金、私募基金、证券/期货、非金融机构自营小额贷款、融资担保、商业保理、汽车金融/融资租赁、征信业务、新三板信息服务平台、股票信息服务平台(港股/美股)、股票信息服务平台、外币兑换、实物黄金买卖、消费金融、收单商户服务、区域性股权交易市场。 |
信息传输、软件和信息技术服务业 | 音视频设备、电信业务、多方通信、软件开发、网络推广。 |
批发和零售业 | 零售批发、自主售卖、百货商场/购物中心。 |
安全 | 安全生成、杀毒软件、辅助性安全软件、反流氓软件、加密软件、其他 |
工业互联网软件 | 工业研发设计、生产管理、其他 |
其他 | 宗教信息、咨询广场。 |
七、APP备案常见问题
1、APP备案接入信息处填写的IP地址是否有个数限制?
目前没有个数限制。
2、境外企业如何APP备案?
境外企业需要提供中国公司的营业执照资质,使用中国公司的主体名称申请APP备案。该中国公司在办理APP备案时应符合相关法律法规以及本文档所列的全部要求。
3、单机不联网APP是否需要备案?
不需要。
4、小程序、快应用向谁进行备案申请?
答:基于应用软件开放平台接口开放的、用户无需安装即可使用的程序,例如小程序、快应用等,应通过其应用软件开放平台向省级通信管理局履行备案手续。
5、 APP需要何时完成备案?
根据《工业和信息化部关于开展移动互联网应用程序备案工作的通知》以及工信部的官方解读,在通知发布(2023年8月8日)后拟开展业务的APP,应先履行备案手续后再开展业务。对于在通知发布前已开展业务未进行备案的APP用户,其应在通知规定的期限内(2024年3月底前)完成备案工作。2024年4月至2024年6月底,电信主管部门将组织对APP备案情况开展监督检查,将对仍未履行备案手续的APP依法进行处置。
6、 APP备案如何获取备案结果?
省级通信管理局在收到APP主办者提交的备案材料后,材料齐全并准确的,在二十个工作日内予以备案,发放备案编号,并通过短信、邮件形式告知,主办者也可以通过备案系统网站 https://www.ghxwicp.com/beian/ ,https://220.231.20.227/beian/自行查询。
7、 如何查询公司主体或域名是否有备案号?
答:登录网站 https://beian.miit.gov.cn,通过右下角的公共查询,之后点击左侧“备案信息查询“,核实主体或域名是否已备案。同一主体同—款APP不同操作系统(IOS、安卓等)只下发一个备案号,且APP备案号与网站备案号共用服务信息备案序列,仅各自显示不同后缀。例如:网站备案号是【京ICP备04000001-1,则APP备案号为【京ICP备04000001-1A】。
8、APP备案完成后有什么注意事项?
APP备案成功并开通访问后,您需要在APP的“设置”或“介绍”等显著位置标注备案编号,且备案编号链接至信息产业部备案管理系统网址,链接为: https://beian.miit.gov.cn/。
9、不同的运行平台(如iOS、安卓)是否需要分别做备案?
同一款APP只需备案一次,在不同平台使用同一备案号。
10、APP可以和网站共用一个域名吗?
APP可以和网站共用一个域名。
11、如618、双11等活动,APP图标都会在短期内有所变化,那备案信息中的图标是必须要变更吗?
当App信息发生变更或停止服务时,App主办者应当及时向原备案机关履行变更或注销手续。
12、APP可以用IP地址作为域名备案吗?
可以